

一、路面狀況傳感器產品介紹
路面狀況傳感器又稱路面狀況檢測器,路面結冰監測傳感器,路面狀況傳感器采用多光譜測量技術,能準確檢測出道路表面結冰、積雪和積水的厚度,通過識別路面狀態,給人們提供預警信號,防止因路面結冰影響行車安全。
路面狀況傳感器又稱路面狀況檢測器,路面傳感器,路面狀況傳感器是一款非接觸式路面狀態檢測器,采用遙感技術,避免了對道路的破壞,采用多光譜測量技術使得能準確檢測道出道路表面結冰、積雪和積水的厚度。
路面狀況傳感器又稱路面狀況檢測器,路面狀況傳感器采用遙感技術,多光譜測量技術使得能準確檢測道出道路表面結冰、積雪和積水的存在狀態和厚度,同時還能實時監測影響交通安全的大霧、雨和雪等天氣現象。
WX-LM1系列非接觸式路面狀態檢測器,它采用遙感技術,避免了對道路的破壞,從而不會因為安裝道路氣象站引起的對交通的干擾。多光譜測量技術使得能準確檢測道出道路表面結冰、積雪和積水的存在狀態和厚度,同時還能實時監測影響交通安全的大霧、雨和雪等天氣現象。
二、路面狀況傳感器功能
l檢測路面積水、積雪、結冰狀態
l遠距離遙感檢測路面、橋面狀況
l非埋入式安裝快捷簡便
l車流量和事故多發區域
l雨雪多發區域
l維護成本低
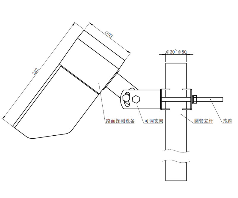
三、路面狀況傳感器產品尺寸圖

四、主要指標
型號 | WX-LM3(停售) | WX-LM1 |
檢測距離及檢測區域直徑 | 2-8米;23cm | |
對水平線的安裝角 | 30-80 | |
電源及功耗 | DC12-24V;0.6W | |
工作溫度和濕 | 溫度:-40oC 至 +60oC;濕度:0 至 95% | |
積水厚 | - | 0-10mm |
覆冰厚 | - | 0-2mm |
積雪厚 | - | 0-2mm |
濕滑程 | - | 0.01(濕滑)-0.82(摩擦強) |
路面狀態報告 | 干燥、潮、 濕、 雪、 冰、 冰水混合 | |
公路天氣現象(選配) | 路面溫度:oC 至 +60oC | |
天氣現象:雨;雪;大霧 | ||
路面材料 | 混凝土、瀝青路面 | |
通訊 | RS485、RS232 | |
?WX-SW2水文監測系統是可以實時監測渠道內水位、降雨量的監測設備,在之前的監測方法中面對突如其來的洪水、···
?WX-Q3農業四情監測系統是一款針對農田中“土壤、蟲情、氣象、苗情、孢子”這幾大關鍵要素進行實時監測與預警···
?WX-FGF11H分布式光伏氣象站是一種專門設計用于監測光伏電站所在區域氣象條件的設備。它具備實時監測、數據分···
?WX-QSZ05多參數水質在線監測系統是一種集成了多種傳感器和數據處理技術的水質監測設備。它能夠實時監測水中···
?極端天氣事件,如暴雨、雷電、大風等,都可能對校園安全構成威脅。通過WX-XQ2學校校園氣象站實時監測氣象數···
?WX-BGF11并網式光伏氣象站是一款采用高穩定性的太陽總輻射傳感器的氣象站,它主要由傳感器單元、供電單元、···
?WX-HS1光伏電站灰塵監測儀,這個看似不起眼的小設備,卻擁有著令人驚嘆的神奇功能。它如同一位忠誠的衛士,···
?WX-FGF11H高配款分布式光伏氣象站具備全方位的實時監控能力。它能夠實時監測光伏電站所在區域的光照強度、環···
?WX-PCR16非洲豬瘟快速檢測儀的研發,源于對非洲豬瘟疫情嚴峻形勢的深刻認識。傳統的豬瘟檢測方法,往往耗時···
?WX-CQ4智能識別蟲情測報系統通過安裝在農田中的高清攝像頭或誘蟲燈等設備,能夠24小時不間斷地監測農田中的···
魯公網安備37079402370807 備案號:魯ICP備2022000322號-4 百度地圖txt地圖