

一、產品簡介
山東萬象環境科技有限公司作為專業研發生產銷售微型氣象儀的企業,一直致力于微型氣象儀和氣象環境解決方案推廣應用。具有完整的生產鏈、實力雄厚的技術團隊和全面的營銷團隊,我們研發生產的五要素微氣象儀、六要素微氣象儀和小型自動氣象站等氣象產品,已廣泛應用到氣象監測、城市環境監測、風力發電、航海船舶、航空機場、橋梁隧道等領域,客戶遍布全國各地,并取得了良好的社會效益和經濟效益。
WX-WQX5B型五要素微氣象儀創新性地將負氧離子、空氣溫度、濕度、PM2.5、PM10等氣象要素通過一個高集成度結構來實現,可實現戶外氣象參數24小時連續在線監測,通過數字量通訊接口將五項參數一次性輸出給用戶。
二、產品特點
1、抗干擾能力強,具有看門狗電路,自動復位功能,保證系統穩定運行
2、高集成度,無移動部件,零磨損
3、免維護,無需現場校準
4、采用ASA工程塑料室外應用常年不變色
5、產品設計輸出信號標配為RS485通訊接口(MODBUS協議);可選配232、USB、以太網接口,支持數據實時讀取☆
6、可選配無線傳輸模塊,最小傳輸間隔1分鐘
7、探頭為卡扣式設計,解決了運輸、安裝過程松動不準的問題☆
三、技術參數
1.空氣溫度(標配):量程:-40-60℃;分辨率0.01℃;精度:±0.3℃(25℃)
2.空氣濕度(標配):量程:0-100%RH;分辨率:0.01%RH;精度:±3%RH
3.PM2.5(標配):量程:0-1000ug/m3;分辨率1ug/m3;精度:±10%(<500微克)
4.PM10(標配):量程:0-1000ug/m3;分辨率1ug/m3;精度:±10%(<500微克)
5.負氧離子(標配):量程:0~10萬個/cm3;分辨率±10%;精度:≤±20%
6.功率:2.3W
7.整機取得省級校準證書
8.生產企業為3A級信用企業
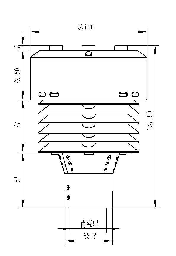
四、產品尺寸圖

五、產品結構圖

六、產品接線定義

定義 | 備注 | |
VCC | 電源正 | DC12V |
GND | 電源地 | |
485A | RS485A | |
485B | RS485B |
?WX-SW2水文監測系統是可以實時監測渠道內水位、降雨量的監測設備,在之前的監測方法中面對突如其來的洪水、···
?WX-Q3農業四情監測系統是一款針對農田中“土壤、蟲情、氣象、苗情、孢子”這幾大關鍵要素進行實時監測與預警···
?WX-FGF11H分布式光伏氣象站是一種專門設計用于監測光伏電站所在區域氣象條件的設備。它具備實時監測、數據分···
?WX-QSZ05多參數水質在線監測系統是一種集成了多種傳感器和數據處理技術的水質監測設備。它能夠實時監測水中···
?極端天氣事件,如暴雨、雷電、大風等,都可能對校園安全構成威脅。通過WX-XQ2學校校園氣象站實時監測氣象數···
?WX-CW32H 4通道32孔熒光定量PCR儀的最大亮點在于其高效的處理能力。4通道設計意味著該儀器能同時處理四組不···
?WX-SW2雨量水位監測儀的核心在于其先進的測量技術。它采用K波段平面雷達技術,通過非接觸的方式測量水體的水···
?想要掌握防火的主動權,保護森林資源就需要一套WX-SL10森林氣象站,它的出現讓我們對森林氣候了如指掌,它是···
?這款WX-SZFB05浮標水質監測設備是一款自動的、無人值守的、專業的監測水質的設備,它通過安裝在浮標上的各類···
?WX-JB1結冰厚度傳感器是一款針對結冰信息的監測設備,它的工作原理是基于微波擾動信號對冰、水、空氣等不同···
魯公網安備37079402370807 備案號:魯ICP備2022000322號-4 百度地圖txt地圖